Pièces détachées Iwaki MD-40RZ(-5)

  • Spare Parts Iwaki MD-40RZ(-5)

35,57 € 35,57 € 35.57 EUR

1,00 €

Option non disponible.

Cette combinaison n'existe pas.

Ajouter au panier


=> Remarque : L’image du produit est illustrative. Veuillez utiliser la description pour l’identification.

Achetez facilement et à prix avantageux dans la boutique Profluid en ligne. Pour les commandes importantes ou les remises quantitatives, veuillez nous contacter afin d'obtenir une offre personnalisée. L'offre s'adresse exclusivement aux professionnels.

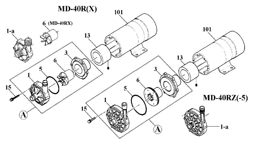
Iwaki pièces de rechange MD-40RZ(-5)


Article
Description
QuantitéRemarque
Numéro de pièce
1Couvercle avant
unité
.
1GFRPP+PPSMD0654
1-a
Couvercle avant "M"
Unité
1GFRPP+PPSMD0655
3
Couvercle arrière unité1GFRPP+PPSMD0656
5Joint torique G-95
Joint torique G-95
1
1
FKM
EPDM
MD0661
MD0694
6Roue 40RZ
Roue 40RZ-5
1
1
CFRPP+PP+CE+
Aimant
MD0657
MD0658
13
Unité d'aimant d'entraînement1 aluminium+aimantMD0836
15Vis+SW+PW. <M5x35&gt ;6
SUS304 equiv.MD0662
101
Moteur '220N' 65W [AC220/240V]165 WMD0660